一、一件事名称
我要申请特种设备检验检测机构核准
二、受理情形
自然人
三、是否收费
不收费
四、办理事项
特种设备检验、检测机构核准
五、承诺时限
10个工作日
六、申请条件
1.年龄在 18周岁以上,60周岁以下;
2.身体健康并满足申请从事的作业种类对身体的特殊要求;
3.有与申请作业种类相适应的文化程度;
4.具有相应的安全技术知识与技能;。
七、所需材料

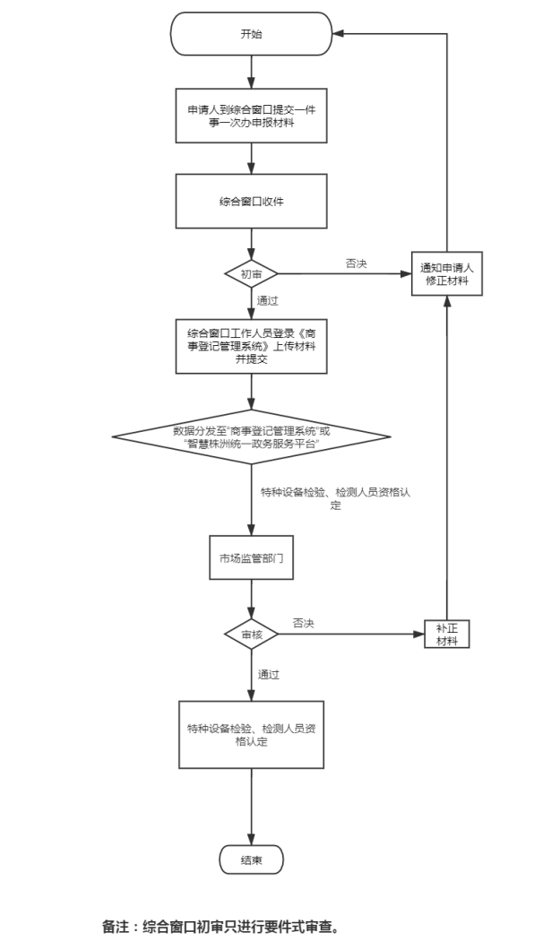
八、办理流程

九、受理地址及电话


一、一件事名称
我要申请特种设备检验检测机构核准
二、受理情形
自然人
三、是否收费
不收费
四、办理事项
特种设备检验、检测机构核准
五、承诺时限
10个工作日
六、申请条件
1.年龄在 18周岁以上,60周岁以下;
2.身体健康并满足申请从事的作业种类对身体的特殊要求;
3.有与申请作业种类相适应的文化程度;
4.具有相应的安全技术知识与技能;。
七、所需材料

八、办理流程

九、受理地址及电话

